- AMD patent reveals a new RAM design aimed at duplicating the DDR5 data bandwidth
- The proposed HB-DIMM approach uses pseudo channels and damping chips to increase performance
- AMD past memory companies fought, asking questions about New Patent’s commercial path
AMD has apparently developed a way to boost memory performance beyond the current limits of DDR5, according to a recently published patent.
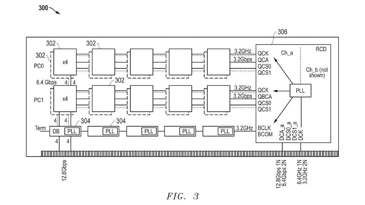
Seen by Tech4Gamers, The presentation refers to “an architecture of the high -band memory module” that could double data rates without changing the underlying drama chips.
The proposed design achieves up to 12.8 Gbps in the memory bus, compared to the Native DDR5 6.4Gbps.
Not AMD’s first memory rode
It does it by using dual memory modules online bandwidth, or HB-DIMM, which combine multiple dram chips with buffer chips.
These buffers handle data transmission at double normal speed, effectively climbing bandwidth with current technology instead of requiring a completely new standard.
The use of pseudo channels and intelligent signal routing to improve performance are also covered in the patent.
A registration clock controller decodes the memory commands and uses a chip identifier bit to direct the signals to independently directed channels.
This will allow parallel access and flexible marking modes to help maintain the compatibility of DDR5.
Data transfer would use an unintected format to simplify signal integrity and reduce latency.
AMD argues in the presentation of DDR5 has fought to keep up with the bandwidth demands of the processors and graphic servers, which makes an update in the architecture of the module necessary.
By allowing the configurations to change between the pseudo-channel and quadruple modes, it would be possible to adapt the design for high performance computing, AI workloads and game systems that require faster memory.
This development occurs as competitors pursue their own solutions. Nvidia’s previous Socamm 1 project was abandoned after technical problems, and the company now works in Socamm 2, since, separately, Son Samsung, SK Hynix and Micron.
Although these efforts focus on modular designs and extreme data speeds for data centers, AMD’s proposal is positioned as an adaptable improvement for existing DDR5 systems.
This would not be the first time that AMD entered the sandy sand, of course. In 2012, the company associated with Patriot Memorry and Visiontek to sell brand DDR3 kits, although that company was not a great success.
It remains to be seen if the new patent will result in a commercial product, but it is another example of the growing pressure on the industry to find ways to go beyond the current DDR5 road map.




